Moteur hydrogène
Avec ce nouveau brevet, Toyota rend son moteur hydrogène encore plus performant
Toujours au stade de développement, le moteur à hydrogène de Toyota évolue avec un nouveau brevet permettant d’en améliorer les performances.
Toyota poursuit son engagement en faveur de l’hydrogène avec une double approche. Ne misant pas uniquement sur la pile à combustible, le constructeur japonais développe aussi un moteur thermique fonctionnant à l’hydrogène.
Malgré des débuts difficiles — dont un incendie lors d’essais au Fuji Speedway — Toyota ne renonce pas et continue d’expérimenter sa solution en compétition. Des tests en conditions extrêmes qui permettent aux équipes de constructeur d’améliorer constamment le fonctionnement de leur moteur. Après un passage à l’hydrogène liquide, le constructeur vient de déposer un nouveau brevet visant à en améliorer le fonctionnement.
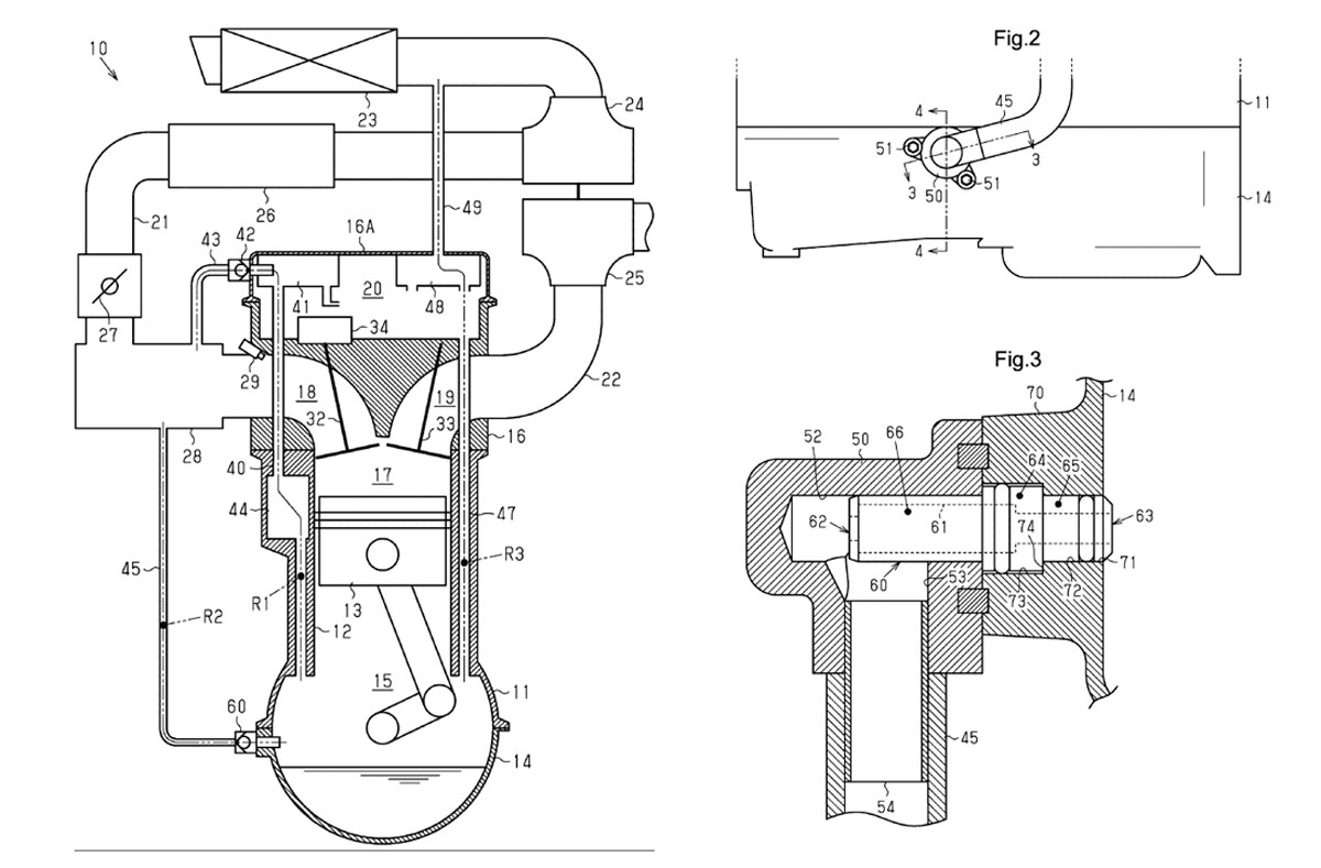
Le nouveau brevet de Toyota introduit ainsi un canal d'air entre l’admission et le carter moteur. Ce circuit est équipé d'une valve unidirectionnelle, qui empêche le reflux de l’air et de l’humidité. Cette valve est placée à l’extérieur du carter, dans un logement qui permet un réchauffement rapide du système.

Si l’utilisation de valves PCV (Positive Crankcase Ventilation) est monnaie courante dans les moteurs thermiques, celle développée par Toyota est spécialement adaptée aux spécificités du moteur à combustion hydrogène. Elle vise à limiter la formation d’émulsions, voire de glace, dans le moteur par temps froid.
En empêchant l’eau et l’huile de se condenser, Toyota cherche à améliorer la fiabilité de son moteur. Sans cette solution, l’air risquerait de se mélanger à l’huile du carter. Cela entraînerait une consommation d’huile plus élevée et une dégradation des émissions.
Toyota poursuit son engagement en faveur de l’hydrogène avec une double approche. Ne misant pas uniquement sur la pile à combustible, le constructeur japonais développe aussi un moteur thermique fonctionnant à l’hydrogène.
Malgré des débuts difficiles — dont un incendie lors d’essais au Fuji Speedway — Toyota ne renonce pas et continue d’expérimenter sa solution en compétition. Des tests en conditions extrêmes qui permettent aux équipes de constructeur d’améliorer constamment le fonctionnement de leur moteur. Après un passage à l’hydrogène liquide, le constructeur vient de déposer un nouveau brevet visant à en améliorer le fonctionnement.
Un système de ventilation repensé
L’un des défis des moteurs à hydrogène réside dans la gestion de l’humidité produite lors de la combustion. En effet, cette dernière génère davantage de vapeur d’eau qu’un moteur à essence. Cela impacte directement le fonctionnement du système de ventilation du carter moteur.Le nouveau brevet de Toyota introduit ainsi un canal d'air entre l’admission et le carter moteur. Ce circuit est équipé d'une valve unidirectionnelle, qui empêche le reflux de l’air et de l’humidité. Cette valve est placée à l’extérieur du carter, dans un logement qui permet un réchauffement rapide du système.

Si l’utilisation de valves PCV (Positive Crankcase Ventilation) est monnaie courante dans les moteurs thermiques, celle développée par Toyota est spécialement adaptée aux spécificités du moteur à combustion hydrogène. Elle vise à limiter la formation d’émulsions, voire de glace, dans le moteur par temps froid.
En empêchant l’eau et l’huile de se condenser, Toyota cherche à améliorer la fiabilité de son moteur. Sans cette solution, l’air risquerait de se mélanger à l’huile du carter. Cela entraînerait une consommation d’huile plus élevée et une dégradation des émissions.
Aller plus loin

